GRECON Combipact 4
GRECON Combipact 4
Vraag ons om de prijs
Plaats:Hardinxveld-Giessendam, Nederland
of
Bel +31-184-614611
Beschrijving
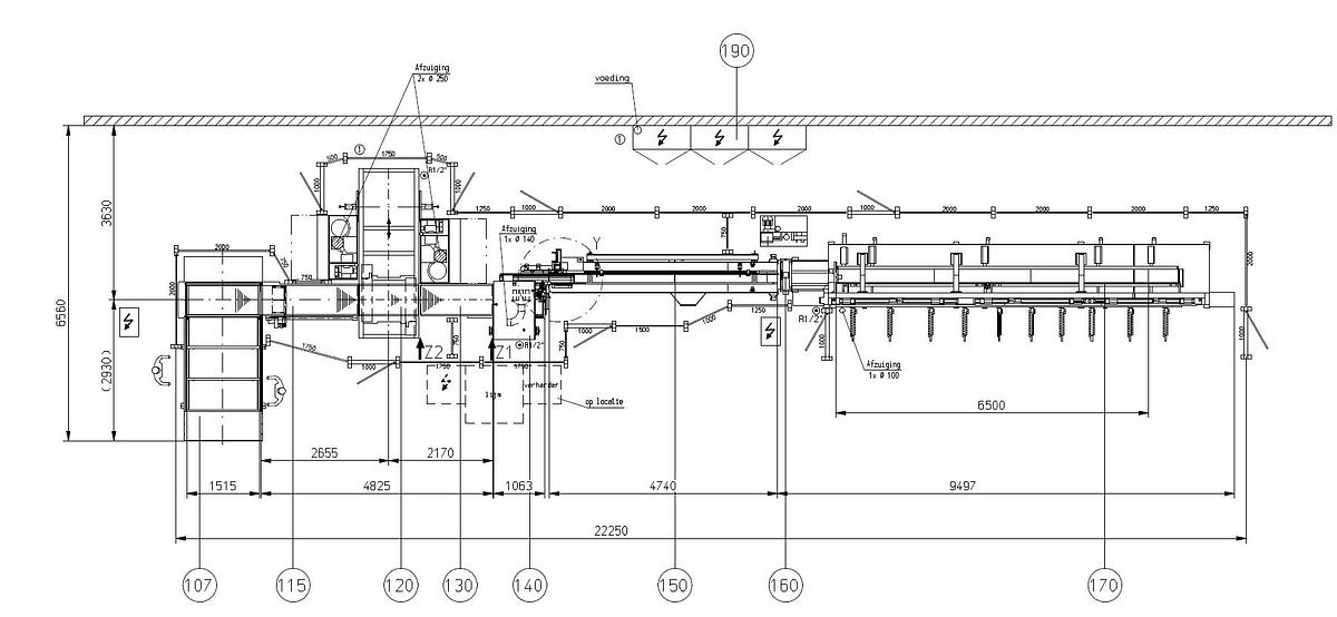
GRECON finger jointing line Combipact 4
Manufacture year 2012
Pos. 107 Compartments packaging BF 4-600 / 1500
Pos. 115 Plug-in station ESTA-600 / 1000
Pos. 120 GreCon Combipact cutter CP-205 / 600 / 1000
Pos. 121 Graco glue pump (year 2022)
Pos. 130 Conveyor belt FB-600 / 1500
Pos. 140 Cross thrust transfer / turning station ÜKS 240 / 600 / 1000
Pos. 150 Chain threading station EKK 240 / 4000 RE-K
Pos. 160 Feeding station VE 205
Pos. 170 GreCon forehead press Conti A-20 / 6500
Pos. 190 Electric cabinet and control unit
Specificaties
| Fabrikant | GRECON |
| Model | Combipact 4 |
| Jaar | 2012 |
| Conditie | Gebruikt |
| Voorraad nummer | 22154 |







